Historie
Škoda Mini – Vozítko z Plzně
Ing. Václav Pauer, CSc. 10.07.2013 11:42
Plzeňský projekt Škoda MINI se nerealizoval. Představa, že je v Evropě na trhu jednoduché vozítko s motocyklovým motorem objemu 350 cm3 je již poněkud absurdní...
Pamětníků, kteří před padesáti lety v automobilovém oboru pracovali, už mnoho nezbývá. Zmiňme se pro ilustraci tehdejších poměrů o tom, jak to u nás na trhu automobilů vlastně v té době vypadalo. V tehdejší ČSSR připadalo v letech 1967–1968 na jeden automobil 27 obyvatel, v západní Evropě pět, v USA dva. Západní svět vyráběl 98 % vozidel, tzv. socialistické státy pouhé 2 %. Úroveň vozového parku u nás zaostávala, trh byl nenasycený do té míry, že se na nový vůz čekalo několik let v pořadníku a zájemce musel složit předem vázaný vklad ve výšce téměř poloviny ceny. K 1. lednu 1965 bylo registrováno 102 251 vkladatelů, ale na trh bylo dodáno jen 25 022 vozů, přičemž počet vkladů za rok vzrostl na 176 102. I když bylo možno předpokládat, že část vkladatelů vůz neodebere, protože si třeba zatím koupí ojetý, bylo třeba počítat s okamžitým odběrem 105 600 vozů.
V době, než se na Západě plně rozjela výroba automobilů a poptávka ještě převyšovala nabídku, mezeru na trhu zaplnila vozítka se slabými motory. Proti motocyklu poskytovala ochranu před nepohodou dvěma dospělým osobám, někdy i dvěma dětem navíc. Mnoho jich vyvinuli Japonci; pozdější Honda N360 byla úspěšná i v Evropě (1968). Výroba původních malých vozů dosáhla vrcholu v letech 1955 až 1958, pak už byl dobrý ojetý vůz v jejich ceně a zájem poklesl. V rámci nadějí Pražského jara 1968 vypracovalo generální ředitelství závodu Škoda Plzeň, do té doby orientovaného výhradně na těžký průmysl, úvahu o možnostech zavedení výroby spotřebního zboží a uložilo vypracovat úvodní studii vozíku Škoda MINI. Domácí trh byl hladový, z celkem 92 717 vozů Škoda 1000 MB vyrobených v roce 1966 jich šlo 51 331 na export, dovoz byl slabý a vozík měl být k dodání ihned. Přitom bylo jasné, že je to program jen na omezenou dobu bez delší perspektivy, ale předpokládalo se, že se prodá 25 až 35 tisíc Škoda MINI. K silničním vozidlům neměla plzeňská Škoda daleko, jejím dítětem byl ASAP, dnes Škoda Auto, zatímco v Plzni se vyráběly traktory, krátce Tatry 805, trolejbusy a vojenská kolová vozidla. Plzeňský závod neměl techniky orientované na malá vozidla, proto projekt zadal vysokým školám. Konstrukci řešil autor článku, design výtvarník PF Miloš Franče. Projekt bral v úvahu specifické podmínky v ČSSR, a tak vznikla studie malého vozíku s dostatkem místa pro dva dospělé a dvě děti, s potlačeným komfortem kvůli hmotnosti a ceně, s jednoduchou technologií pro výrobu i údržbu a s motocyklovým motorem 350 cm3, vážícího cca 400 kilogramů a schopného tahat i přívěs do 150 kg. Konstrukce počítala s možností oprav svépomocí, jak bylo v té době obvyklé nejen u motocyklů. Nekonvenční návrh nebyl návratem k vozítkům z padesátých let, ani zmenšeninou většího vozu.
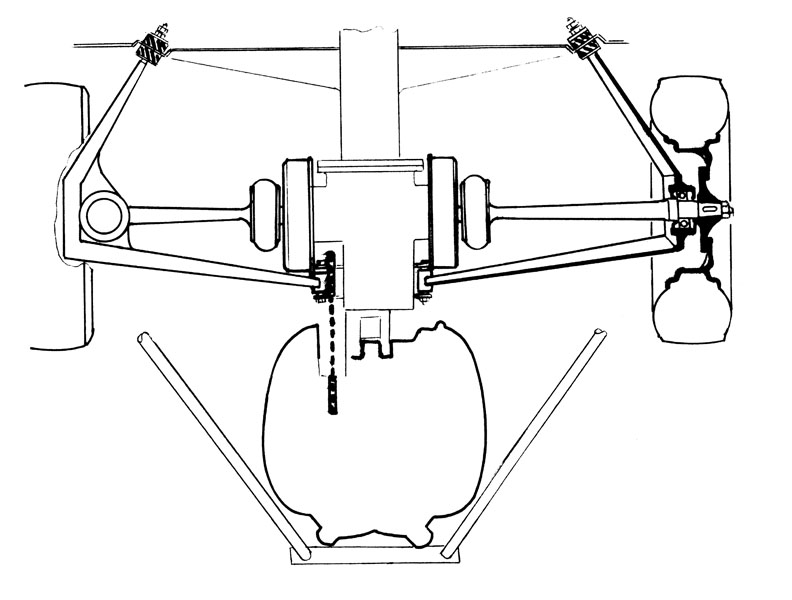
Podvozek byl sestaven ze tří vzájemně sešroubovaných a snadno vyměnitelných dílů. Motor Jawa 350 s dynamostartérem a větrákem chlazení byl uložen za zadní nápravou a poháněl řetězem skříň se zpětným převodem a diferenciálem, pohon kol obstarávaly pryžové klouby. Přední náprava McPherson byla extrémně jednoduchá, měla jen dvě mazaná místa a kvůli výrobní ceně tlumiče vně rejdového čepu. Byla namontována osmi šrouby na střední plechový skelet. Při vší technologické jednoduchosti ovšem měla exaktní geometrii. Zadní kyvadlová náprava byla uložena v silentblocích. Brzdy byly dvouokruhové bubnové ø 190 mm; desetipalcová kola nebyl schopen domácí průmysl dodat, ale volná kapacita slévárny barevných kovů v podniku Škoda Plzeň měla umožnit montáž atraktivních kol z hliníkové slitiny pro pneumatiky 5,20 x 10. Základní verze karoserie z laminátových dílů šroubovaných na ocelový skelet měla místo pro dvě dospělé osoby a dvě děti, otevřená verze byla jen dvoumístná. V plánu byla i užitková v podobě ultralehkého tahače návěsu s trambusovou budkou, protože lehká užitková vozidla u nás rovněž chyběla. Shodnost dílů se základní verzí měla být asi 80 %. Při hmotnosti návěsu do 700 kg návrh plně vyhovoval tehdejšímu předpisu, a to výkonu 6 k na 1 tunu hmotnosti vozu. Během vývoje byla navázána úzká spolupráce s firmou ČZ Strakonice, která měla dodávat motory Jawa 350 převrtané na 400 cm3, diferenciály z tříkolky ČZ 505, tlumiče a řadu dalších dílů. Současně byla ustavena v plzeňském závodě skupina, která připravovala výrobu prototypu. Vedl ji Ing. Karel Kleinmond a vyrobil vzhledný model vozíku v měřítku 1:5.
Záměr plzeňské Škody vyvolal nebývalou bouři. Proti zavedení výroby v tehdejším systému řízeného hospodářství protestovaly AZNP Škoda Mladá Boleslav rozhořčeně až na ústředním výboru československé komunistické strany. Příprava prototypu měla mít podstatně zjednodušenou organizaci zbavenou zbytečných byrokratických složek, což zase vyvolalo hysterickou reakci uvnitř podniku. Nadějný a rychlý náběh příprav ukončila ruská invaze v srpnu 1968. V závodech Škoda Plzeň staré kádry tzv. normalizačního vedení vrátily podnik k programu v rámci RVHP a generální ředitel Ing. Martiňák, který vozík podporoval, byl odsunut jako obchodní přidělenec do Japonska. Když viděl, kolik vozítek po Tokiu jezdí, ještě intervenoval, aby vývoj Škoda MINI pokračoval. Ovšem marně. Vše, co zbylo, je část projektové dokumen-tace, uložená v NTM v Praze.
Převzato z časopisu 



